







VSVA-B-T32U-AZ-A1-1T1L – Selenoid valf
- Açıklama
- Değerlendirmeler (0)
Açıklama
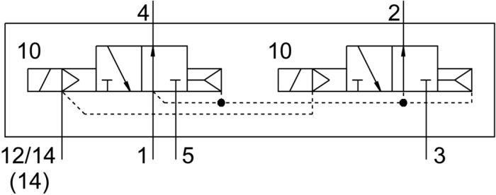
Valf fonksiyonu : 2×3/2 açık tek bobinli
Çalıştırma türü : elektrikli
Yapı genişliği : 26 mm
Standart anma debisi : 900 l/min
Pnömatik çalışma bağlantısı : Bağlantı plakası boyutu 26 mm, ISO 15407-1’e göre VDMA 24563’e göre bağlantı plakası boyutu 01 G1/4
Çalışma gerilimi : 24V DC
Çalışma basıncı : 0.3 MPa … 1 MPa
Çalışma basıncı : 3 Bar … 10 Bar
Tasarım : Piston sürgüsü
Ruhsat : c UL us – Tanınan (OL)
Koruma türü : IP65 NEMA 4
Hava tahliye fonksiyonu : kısılabilir kısma plakası aracılığıyla tekli bağlantı plakası üzerinden
Sızdırmazlık prensibi : yumuşak
Montaj konumu : herhangi bir
Manuel kumanda : üzeri örtülü
Kontrol türü : pilot kumandalı
Pilot hava beslemesi : harici dahili
Akış yönü : tersine çevrilemez
Sembol : 00995201
Örtüşme : pozitif kapsama
Sinyal durumu göstergesi : LED
Kontrol basıncı : 0.3 MPa … 1 MPa
Kontrol basıncı : 3 Bar … 10 Bar
Akış valf : 1250 l/min
Tekli bağlantı plakası üzerinde valf debisi : 1100 l/min
Valf akışı, pnömatik olarak bağlantılı, akış optimizasyonlu : 1150 l/min
Valf akışı, pnömatik olarak bağlantılı : 900 l/min
Kapama anahtarlama süresi : 38 ms
Açma anahtarlama süresi : 20 ms
Devreye girme süresi : 100%
0 sinyalinde maks. pozitif test palsı : 1500 µs
1 sinyalide maks. negatif test palsı : 1200 µs
Maks. akım tüketimi : 60 mA
Nominal çalışma gerilimi DC : 24 V
Bobin karakteristik değerleri : 24 V DC: 1,3 W
Aşırı gerilim direnci : 2.5 kV
Kirlenme derecesi : 3
İzin verilen gerilim dalgalanmaları : +/- 10%
İşletim ortamı : ISO 8573-1:2010 [7:4:4] uyarınca basınçlı hava
İşletim / kontrol ortamı hakkında not : Yağlı işletim mümkün (diğer işletimde gerekli)
Osilasyon direnci : FN 942017-4 ve EN 60068-2-6 uyarınca şiddet seviyesi 2 ile nakliye uygulama testi
Şok direnci : FN 942017-5 ve EN 60068-2-27’ye göre şiddet seviyesi 2 ile şok testi
Korozyon direnci sınıfı KBK : 0 – korozyona maruziyet yok
LABS uygunluğu : VDMA24364-B1/B2-L
Bağıl nem : % 0 – 90
Kontrol ortamı : ISO 8573-1:2010 [7:4:4] uyarınca basınçlı hava
Ortam sıcaklığı : -5 °C … 50 °C
Ürün ağırlığı : 335 Gram
Elektrik bağlantısı : Eklenti ISO 15407-2’ye göre
Montaj türü : bağlantı plakasında
Kontrol havası bağlantısı 12/14 : ISO 15407-2’ye göre 26 mm bağlantı plakası boyutu
Kontrol tahliye havası bağlantısı 82/84 : toplandı standarda göre toplanmamış isteğe bağlı olarak:
Pnömatik bağlantı 1 : ISO 15407-2’ye göre 26 mm bağlantı plakası boyutu
Pnömatik bağlantı 2 : ISO 15407-2’ye göre 26 mm bağlantı plakası boyutu
Pnömatik bağlantı 3 : ISO 15407-2’ye göre 26 mm bağlantı plakası boyutu
Pnömatik bağlantı 4 : ISO 15407-2’ye göre 26 mm bağlantı plakası boyutu
Pnömatik bağlantı 5 : Bağlantı plakası boyutu 26 mm, ISO 15407-2’e göre
Malzeme hakkında not : RoHS uyumlu
Sızdırmazlık elemanları malzemesi : FPM HNBR NBR
Gövde malzemesi : Alüminyum pres döküm PA
Vida malzemesi : Çelik, galvanize
Değerlendirmeler
Henüz değerlendirme yapılmadı.